04 Tahoe Fuse Box 20+ Images Result
04 Tahoe Fuse Box. Buy high quality used 2004 chevy tahoe fuse box cheap and fast. 2004 chevrolet tahoe fuse diagram for underhood fuse box.
If you have a amp there is a 30 amp fuse in fuse box under hood labeled radio amp so that would be next thing i'd check. I looked at 5.7l engine. The first time it happened was about 2 weeks ago on the freeway.
2009 camry engine diagram serpentine 99 pontiac grand am gt fuse box chevy van engine diagram 2007 ford econoline fuse box diagram
95 Tahoe ルームランプ Fuse
I’m thinking it’s more of just a signal so my battery and charging lights don’t come one the dash. I’m thinking it’s more of just a signal so my battery and charging lights don’t come one the dash. Right now i have it running to one of the top 10 amp fuses under the dash on the drivers side. 2004 chevrolet silverado fuse diagram for instrument panel fuse box.
Source: buyeagleaspendtv4x815887.blogspot.com
This video is going to show you how to release and remove the fuse box and wiring harness out of a chevy silverado gmc sierra cadillac escalade and other app. If you had a amp and it was the problem then aftermarket radio would. Rt door cb blower 40a blower motor lbec 2 50a locks fuse. What would cause this.

Source: bonanza.com
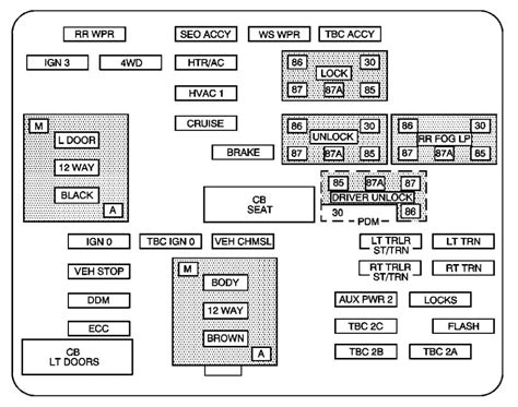
This video is going to show you how to release and remove the fuse box and wiring harness out of a chevy silverado gmc sierra cadillac escalade and other app. The fuse is labeled as ipc/dic in the underhood box. Ddm fuse, pdm fuse, ecc fuse, aux pwr 2 fuse stud #2 30a trailer wiring Fuse box in passenger compartment..
Source: wiring04.blogspot.com
My 04 tahoe is drawing 3 amps when everything turned off. This video is going to show you how to release and remove the fuse box and wiring harness out of a chevy silverado gmc sierra cadillac escalade and other app. If there is a fault in one of the circuits feed by the breakers they will trip to protect.
Source: rachelleogyaz.blogspot.com
The wiring diagram had old style and new style. Buy high quality used 2004 chevy tahoe fuse box cheap and fast. Fuse box diagram (location and assignment of electrical fuses and relays) for chevrolet (chevy) tahoe (2007, 2008, 2009, 2010, 2011, 2012, 2013, 2014). If there is a fault in one of the circuits feed by the breakers they will.
Source: kelvin-okl.blogspot.com
At the fog lamp the purple wire is voltage, the black wire is ground, check them both. 2004 chevrolet silverado fuse diagram for instrument panel fuse box. We use a box and the word caution to tell you about things that could hurt you if you were to ignore the warning. Right now i have it running to one of.

Source: rachelleogyaz.blogspot.com
What would cause this to blow. For the chevrolet suburban, chevrolet tahoe, gmc suburban, gms yukon 2000, 2001, 2002, 2003, 2004, 2005, 2006 model year. Fuse box diagram (location and assignment of electrical fuses and relays) for chevrolet (chevy) suburban / tahoe (2000, 2001, 2002, 2003, 2004, 2005, 2006). Stud # 1 40a trailer wiring, automatic level control (alc) compressor.

Source: top-online-newz.blogspot.com
2004 chevrolet tahoe fuse diagram for underhood fuse box. Hidden fuse on 4.3 tahoe q4. If there is a fault in one of the circuits feed by the breakers they will trip to protect the circuit, they can however let enough current flow to blow. Stud # 1 40a trailer wiring, automatic level control (alc) compressor relay mbec 1 50a.

Source: untpikapps.com
Hidden fuse on 4.3 tahoe q4. My 04 tahoe is drawing 3 amps when everything turned off. For the chevrolet suburban, chevrolet tahoe, gmc suburban, gms yukon 2000, 2001, 2002, 2003, 2004, 2005, 2006 model year. All 3 mounting tabs are intact. The diagram is new style.
Source: kelvin-okl.blogspot.com
But i’d rather just run it to the under hood fuse panel Used my voltmeter set to milliamps and it was drawing 2.0. Fuse box in passenger compartment. If the fuse still blows the problem is between the outside fuse box and the inside relay center. 2000 chevrolet tahoe z71 fog light wiring diagram.

Source: ebay.com
04 chevy tahoe interior fuse box panel lid cover in good used condition with minimal signs of wear. The video above shows how to replace blown fuses in the interior fuse box of your 2004 chevrolet tahoe in addition to the fuse panel diagram location. Stud # 1 40a trailer wiring, automatic level control (alc) compressor relay mbec 1 50a.
Source: nbiobkvgnoe.blogspot.com
Fuse box in passenger compartment. The diagram is new style. If you had a amp and it was the problem then aftermarket radio would. Fuse box diagram (location and assignment of electrical fuses and relays) for chevrolet (chevy) tahoe (2007, 2008, 2009, 2010, 2011, 2012, 2013, 2014). We use a box and the word caution to tell you about things.

Source: bonanza.com
When i test that fuse it is the only one drawing power, even after the truck has sat for 30 minutes and the bcm has gone to sleep. What would cause this to blow. Stud # 1 40a trailer wiring, automatic level control (alc) compressor relay mbec 1 50a seat cb. If the fuse does not blow then reinstall the.

Source: autogenius.info
This video is going to show you how to release and remove the fuse box and wiring harness out of a chevy silverado gmc sierra cadillac escalade and other app. Fuse box diagram (location and assignment of electrical fuses and relays) for chevrolet (chevy) suburban / tahoe (2000, 2001, 2002, 2003, 2004, 2005, 2006). If the fuse does not blow.

Source: bonanza.com
Fuse box in passenger compartment. 2004 chevrolet silverado fuse diagram for instrument panel fuse box. Buy high quality used 2004 chevy tahoe fuse box cheap and fast. 04 tahoe my radio works fine but there is no sound. When i test that fuse it is the only one drawing power, even after the truck has sat for 30 minutes and.

Source: untpikapps.com
2002 instrument panel fuse block the fuse block access door is on the driver’s side edge of the instrument panel. The first time it happened was about 2 weeks ago on the freeway. I am not sure the amp draw the diagram from mechman doesn’t say. Buy high quality used 2004 chevy tahoe fuse box cheap and fast. We use.
Source: top-online-newz.blogspot.com
On 8/2/2015 at 7:11 pm, red03 said: I am not sure the amp draw the diagram from mechman doesn’t say. 04 chevy tahoe interior fuse box panel lid cover in good used condition with minimal signs of wear. We have actually accumulated several photos, hopefully this picture is useful for you, as well as assist you in locating the response.

Source: rachelleogyaz.blogspot.com
At the fog lamp the purple wire is voltage, the black wire is ground, check them both. 04 tahoe my radio works fine but there is no sound. For the chevrolet suburban, chevrolet tahoe, gmc suburban, gms yukon 2000, 2001, 2002, 2003, 2004, 2005, 2006 model year. If you had a amp and it was the problem then aftermarket radio.

Source: melissappos.blogspot.com
Used my voltmeter set to milliamps and it was drawing 2.0. The first time it happened was about 2 weeks ago on the freeway. On 8/2/2015 at 7:11 pm, red03 said: 2000 chevrolet tahoe z71 fog light wiring diagram. 2004 chevrolet tahoe fuse diagram for underhood fuse box.
Source: fusewiring.blogspot.com
If you had a amp and it was the problem then aftermarket radio would. I’m thinking it’s more of just a signal so my battery and charging lights don’t come one the dash. 04 chevy tahoe interior fuse box panel lid cover in good used condition with minimal signs of wear. The diagram is new style. The fuse is labeled.

Source: justanswer.com
All 3 mounting tabs are intact. On 8/2/2015 at 7:11 pm, red03 said: You can see fog lamp relay, the is a fog lamp fuse for you to check. The wiring diagram had old style and new style. Is this an aftermarket stereo, or did it come with the car?