93 Chevy Astro Van Fuse Box 16++ Images Result
93 Chevy Astro Van Fuse Box. Fuse box diagram (location and assignment of electrical fuses and relays) for chevrolet (chevy) astro 1996, 1997, 1998, 1999, 2000, 2001, 2002, 2003, 2004, 2005 When the fuel pump begins to fail it overheats, causing it to drain more amperage (amp);
In the table below you'll find the fuse location and description of the fuses of the fuse box on 1993 4.3l, 5.0l, 5.7l tbi equipped 4.3l, 5.0l, and 5.7l pickups. And has not started since. Posted by perrydx on nov 12, 2009
fuse box on a ford fiestum 2006 ford f 250 wiring diagram customer acces 2007 ford mustang 6 cylinder engine diagram 1998 mercury sable l ignition wiring diagram
93 Chevy Astro Van Fuse Box Diagram Base Website Fuse Box
If the amps exceed the amount of amps the ecm 1 fuse allows, the fuse will blow. Heated mirror (not used) 3. It shows the components of […] 1989 chevy truck fuse box diagram and chevy fuse diagram wiring diagram 15 1989 chevy truck fuse box diagram wiri chevy trucks chevy astro van astro van.
Source: semna-museum.blogspot.com
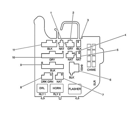
The van will turn over but not start. The fuse block is located on the lower portion of the instrument panel on the driver’s side. Fuse box diagram (location and assignment of electrical fuses and relays) for chevrolet (chevy) astro 1996, 1997, 1998, 1999, 2000, 2001, 2002, 2003, 2004, 2005 My astro van died while driving down the road. Asked.
Source: kiona-machit.blogspot.com
If the amps exceed the amount of amps the ecm 1 fuse allows, the fuse will blow. In the table below you'll find the fuse location and description of the fuses of the fuse box on 1993 4.3l, 5.0l, 5.7l tbi equipped 4.3l, 5.0l, and 5.7l pickups. Heated mirror (not used) 3. 17 2002 dodge ram truck fuse box diagram.

Source: sfsamara.blogspot.com
15 93 chevy truck wiring diagram truck diagram wiringg net chevy trucks astro van chevy astro van 1993 gmc c1500 c2500 c3500 pick up. Maintenance & repair 4 answers. The fuse block is located on the lower portion of the instrument panel on the driver’s side. 17 2002 dodge ram truck fuse box diagram dodge neon. It shows the components.

Source: coveredinsparkles.blogspot.com
Pdf ebook and manual reference. My car has 240000 miles. Rinnai rl75i parts listing, 1996 chevy astro van fuse box, gp5500 parts diagram. Instrument panel fuse box diagram chevrolet suburban 1993 1994 fuse box chevrolet suburban chevrolet Maintenance & repair 4 answers.

Source: kiona-machit.blogspot.com
93 chevy conversion van parts no engine/trans $0. Also check the fuse that says ecm b, it powers the fuel pump, fuel relay and oil pressure switch. Pdf ebook and manual reference. Stop/turn/hazard lamps, chmsl, chime module. To test these relays, swap them and then try to start the vehicle, or blow the horn.
Source: fusewiring.blogspot.com
17 2002 dodge ram truck fuse box diagram dodge neon. 93 chevy conversion van parts no engine/trans $0. Buggies unlimited, pds electric golf cart. Posted by jossilinedon on oct 02, fuse box diagram chevy astro van pdf 1 docs engine com chevy van. The fuse box is located on the driver side of the dash.

Source: schematicandwiringdiagram.blogspot.com
Replacing the fuel pump should correct this problem. I have a 93 chevy astro van and the blower fan keeps blowing fuses. The fuel pump relay is located in the glove box under a little cover on the upper left side. And has not started since. Pdf ebook and manual reference.

Source: 3wayswitchwiringdiagram.blogcity.fr
Maintenance & repair 4 answers. The fuel pump relay is located in the glove box under a little cover on the upper left side. Heated mirror (not used) 3. The fuse box illustration and fuse descriptions cover the vehicles in the ‘applies to:’ box on the right column. Replacing the fuel pump should correct this problem.
![[DIAGRAM] 1995 Gmc Safari Wiring Diagram FULL Version HD [DIAGRAM] 1995 Gmc Safari Wiring Diagram FULL Version HD](https://i2.wp.com/www.autogenius.info/wp-content/uploads/2016/12/GMc-Safari-mk2-fuse-box-engine-compartment.jpg)
Source: a20.lucignani.it
Posted by jossilinedon on oct 02, fuse box diagram chevy astro van pdf 1 docs engine com chevy van. In the table below you'll find the fuse location and description of the fuses of the fuse box on 1993 4.3l, 5.0l, 5.7l tbi equipped 4.3l, 5.0l, and 5.7l pickups. The owner's manual does not show one. Wire diagrams of dash.

Source: mywiring.info
Also check the fuse that says ecm b, it powers the fuel pump, fuel relay and oil pressure switch. 1987 chevrolet c1500 2dr pickup wiring information. Where is the fuse for a 1993 chevy astro van, if there is one? And has not started since. Fuel pump relay for a 1994 chevy truck wt1500.

Source: mywiring.info
My astro van died while driving down the road. Ezgo golf cart manual get. Asked by brittany jul 28, at am about the chevrolet chevy van g20 rwd question type: The owner's manual does not show one. The video above shows how to check and change blown fuses in the engine bay of your 2001 chevrolet astro in addition to.

Source: schematicandwiringdiagram.blogspot.com
So i figured good fuses good pump must be power problem, i hot wired pump then the van started and. Powers the injectors and control module. To test these relays, swap them and then try to start the vehicle, or blow the horn. Posted by jossilinedon on oct 02, fuse box diagram chevy astro van pdf 1 docs engine com.

Source: 3wayswitchwiringdiagram.blogcity.fr
1993 chevy 1500 wiring diagram. Buggies unlimited, pds electric golf cart. It shows the components of […] If your convenience lights, turn signals, seat warmers, stereo, headlights or other electronic components suddenly stop working, chances are you have a fuse that has blown out. So i figured good fuses good pump must be power problem, i hot wired pump then.
Source: newsogpowerlock.blogspot.com
My astro van died while driving down the road. The fuel pump relay is located in the glove box under a little cover on the upper left side. I have 93 astro van after checking fuses under dash i replaced the fuel pump because it was not running with key on. 15 93 chevy truck wiring diagram truck diagram wiringg.

Source: kiona-machit.blogspot.com
Pdf ebook and manual reference. 1964 chevy corvair 95 panel van $4,500 (oceanside north san diego county ) pic hide this posting restore restore this posting. The fuel control relay is the left relay and the fuel pump relay is the right. And has not started since. I have a 93 chevy astro van and the blower fan keeps blowing.
Source: coveredinsparkles.blogspot.com
To test these relays, swap them and then try to start the vehicle, or blow the horn. 93 chevy conversion van parts no engine/trans $0. 15 93 chevy truck wiring diagram truck diagram wiringg net chevy trucks diagram chevy. And has not started since. Powers the injectors and control module.
Source: fusewiring.blogspot.com
The fuel control relay is the left relay and the fuel pump relay is the right. 15 93 chevy truck wiring diagram truck diagram wiringg net chevy trucks astro van chevy astro van. 1993 chevy 1500 wiring diagram. Heated mirror (not used) 3. Where is the fuse for a 1993 chevy astro van, if there is one?
Source: kelvin-okl.blogspot.com
Instrument panel fuse box diagram chevrolet suburban 1993 1994 fuse box chevrolet suburban chevrolet My car has an automatic transmission. Ez go 93 manual, buggies unlimited. Stop/turn/hazard lamps, chmsl, chime module. Buggies unlimited, pds electric golf cart.

Source: pinterest.com
Fuse panel relay box.battery keeps.fuse blows i have 1999 chevy astro awd.the 20amp ecm1 fuse in the fuse panel relay box by the battery keeps burning out.the van runs for about 2 minutes then the fuse blows. My astro van died while driving down the road. The fuel pump relay is located in the glove box under a little cover.

Source: 3wayswitchwiringdiagram.blogcity.fr
My astro van died while driving down the road. It still did not run then i tested old pump on battery and it worked. To test these relays, swap them and then try to start the vehicle, or blow the horn. I have 93 astro van after checking fuses under dash i replaced the fuel pump because it was not.